產品簡介
當前位置:橋梁伸縮縫>伸縮縫示意圖
GQF-C型、GQF-Z型、GQF-F型、GQF-L型伸縮縫
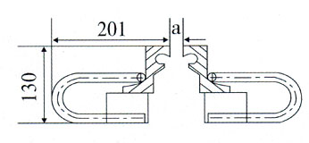
GQF-C型、GQF-Z型、GQF-F型、GQF-L型伸縮裝置均是由兩根邊梁(C型、Z型、F型、L型熱軋異型鋼材)和橡膠密封帶組成,其結構簡單,安裝方便,適用于伸縮量為0~80mm的橋梁。其結構形式見下圖:
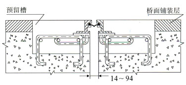
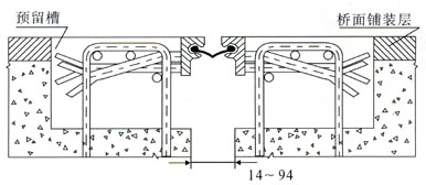
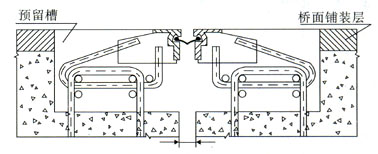
| 0-80mm型各種規格總體尺寸與安裝示意圖 | ||
| 序號 | 伸縮裝置斷面圖 | 伸縮裝置安裝示意圖 |
| GQF-Z8 | ![]() |
![]() |
| GQF-Z9 | ![]() |
![]() |
| GQF-Z10 | ![]() |
![]() |
| GQF-Z11 | ![]() |
![]() |
| GQF-Z12 | ![]() |
![]() |
| GQF-Z13 | ![]() |
![]() |
| GQF-Z14 | ![]() |
![]() |
| GQF-F-1 | ![]() |
![]() |
| GQF-F-2 | ![]() |
![]() |
| GQF-F-3 | ![]() |
![]() |
| GQF-L-1 | ![]() |
![]() |























